Yamaha Dt 200 Parts Diagram . Dt200r motorcycle pdf manual download. Schematic, parts fiche, parts manual and parts diagram. you can find here the yamaha dt200r (3cj7) 1995 carburetor exploded view and spare parts list. browse oem parts diagrams and order parts for yamaha dt200r 1991. view and download yamaha dt200r owner's manual online.
from money-sense.net
Dt200r motorcycle pdf manual download. view and download yamaha dt200r owner's manual online. Schematic, parts fiche, parts manual and parts diagram. browse oem parts diagrams and order parts for yamaha dt200r 1991. you can find here the yamaha dt200r (3cj7) 1995 carburetor exploded view and spare parts list.
Parts & Accessories YAMAHA Manual DT200 1984 1985 1986 1987
Yamaha Dt 200 Parts Diagram Dt200r motorcycle pdf manual download. view and download yamaha dt200r owner's manual online. browse oem parts diagrams and order parts for yamaha dt200r 1991. Schematic, parts fiche, parts manual and parts diagram. Dt200r motorcycle pdf manual download. you can find here the yamaha dt200r (3cj7) 1995 carburetor exploded view and spare parts list.
From aquastat-wiring-diagram55.blogspot.com
Yamaha Dt200R Wiring Diagram Yamaha Dt200 Service Manual Besides Yamaha Dt 200 Parts Diagram browse oem parts diagrams and order parts for yamaha dt200r 1991. Dt200r motorcycle pdf manual download. view and download yamaha dt200r owner's manual online. you can find here the yamaha dt200r (3cj7) 1995 carburetor exploded view and spare parts list. Schematic, parts fiche, parts manual and parts diagram. Yamaha Dt 200 Parts Diagram.
From www.cmsnl.com
Yamaha DT200R 1988 2YY1 FRANCE 282YY351F1 RPSERVOIR A CARBURANT buy Yamaha Dt 200 Parts Diagram Schematic, parts fiche, parts manual and parts diagram. Dt200r motorcycle pdf manual download. view and download yamaha dt200r owner's manual online. you can find here the yamaha dt200r (3cj7) 1995 carburetor exploded view and spare parts list. browse oem parts diagrams and order parts for yamaha dt200r 1991. Yamaha Dt 200 Parts Diagram.
From www.cmsnl.com
Yamaha DT200R 1989 2YY1 EUROPE 292YY300E1 ELECTRICAL 1 buy original Yamaha Dt 200 Parts Diagram Schematic, parts fiche, parts manual and parts diagram. you can find here the yamaha dt200r (3cj7) 1995 carburetor exploded view and spare parts list. Dt200r motorcycle pdf manual download. view and download yamaha dt200r owner's manual online. browse oem parts diagrams and order parts for yamaha dt200r 1991. Yamaha Dt 200 Parts Diagram.
From www.cmsnl.com
Yamaha DT200R 1989 2YY1 EUROPE 292YY300E1 ELECTRICAL 2 buy original Yamaha Dt 200 Parts Diagram you can find here the yamaha dt200r (3cj7) 1995 carburetor exploded view and spare parts list. Dt200r motorcycle pdf manual download. Schematic, parts fiche, parts manual and parts diagram. view and download yamaha dt200r owner's manual online. browse oem parts diagrams and order parts for yamaha dt200r 1991. Yamaha Dt 200 Parts Diagram.
From www.cmsnl.com
Yamaha DT200R 1989 2YY1 EUROPE 292YY300E1 SHIFT CAM. FORK buy Yamaha Dt 200 Parts Diagram Schematic, parts fiche, parts manual and parts diagram. you can find here the yamaha dt200r (3cj7) 1995 carburetor exploded view and spare parts list. view and download yamaha dt200r owner's manual online. Dt200r motorcycle pdf manual download. browse oem parts diagrams and order parts for yamaha dt200r 1991. Yamaha Dt 200 Parts Diagram.
From www.cmsnl.com
Yamaha DT200R 1988 2YY1 FRANCE 282YY351F1 CARBURETOR buy original Yamaha Dt 200 Parts Diagram browse oem parts diagrams and order parts for yamaha dt200r 1991. view and download yamaha dt200r owner's manual online. you can find here the yamaha dt200r (3cj7) 1995 carburetor exploded view and spare parts list. Dt200r motorcycle pdf manual download. Schematic, parts fiche, parts manual and parts diagram. Yamaha Dt 200 Parts Diagram.
From money-sense.net
Parts & Accessories YAMAHA Manual DT200 1984 1985 1986 1987 Yamaha Dt 200 Parts Diagram browse oem parts diagrams and order parts for yamaha dt200r 1991. view and download yamaha dt200r owner's manual online. you can find here the yamaha dt200r (3cj7) 1995 carburetor exploded view and spare parts list. Dt200r motorcycle pdf manual download. Schematic, parts fiche, parts manual and parts diagram. Yamaha Dt 200 Parts Diagram.
From reviewmotors.co
Yamaha 200 Outboard Motor Parts Diagram Reviewmotors.co Yamaha Dt 200 Parts Diagram browse oem parts diagrams and order parts for yamaha dt200r 1991. Schematic, parts fiche, parts manual and parts diagram. Dt200r motorcycle pdf manual download. view and download yamaha dt200r owner's manual online. you can find here the yamaha dt200r (3cj7) 1995 carburetor exploded view and spare parts list. Yamaha Dt 200 Parts Diagram.
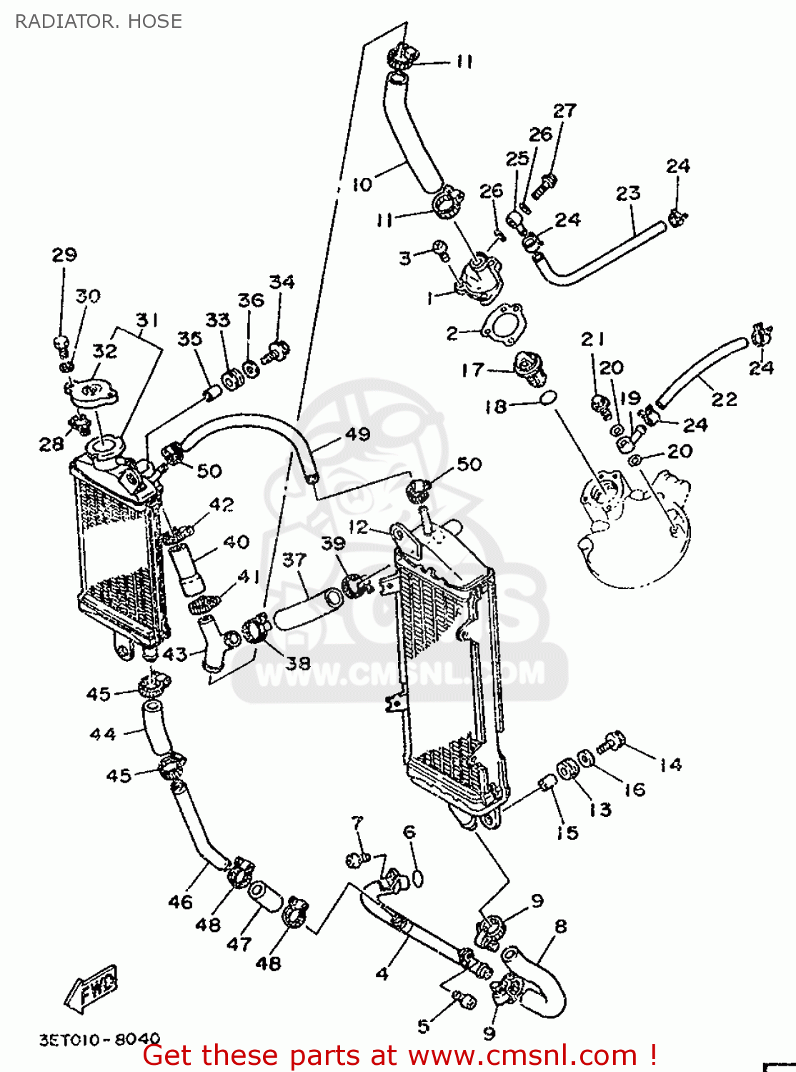
From www.cmsnl.com
Yamaha DT200R 1988 2YY1 FRANCE 282YY351F1 RADIATOR. HOSE buy Yamaha Dt 200 Parts Diagram you can find here the yamaha dt200r (3cj7) 1995 carburetor exploded view and spare parts list. view and download yamaha dt200r owner's manual online. Schematic, parts fiche, parts manual and parts diagram. browse oem parts diagrams and order parts for yamaha dt200r 1991. Dt200r motorcycle pdf manual download. Yamaha Dt 200 Parts Diagram.
From www.cmsnl.com
Yamaha DT200R 1989 2YY1 EUROPE 292YY300E1 TACHOMETER GEAR buy Yamaha Dt 200 Parts Diagram Dt200r motorcycle pdf manual download. Schematic, parts fiche, parts manual and parts diagram. view and download yamaha dt200r owner's manual online. you can find here the yamaha dt200r (3cj7) 1995 carburetor exploded view and spare parts list. browse oem parts diagrams and order parts for yamaha dt200r 1991. Yamaha Dt 200 Parts Diagram.
From www.cmsnl.com
Yamaha DT200R 1988 2YY1 FRANCE 282YY351F1 CLUTCH buy original CLUTCH Yamaha Dt 200 Parts Diagram Schematic, parts fiche, parts manual and parts diagram. you can find here the yamaha dt200r (3cj7) 1995 carburetor exploded view and spare parts list. view and download yamaha dt200r owner's manual online. browse oem parts diagrams and order parts for yamaha dt200r 1991. Dt200r motorcycle pdf manual download. Yamaha Dt 200 Parts Diagram.
From www.cmsnl.com
Yamaha DT200R 1989 2YY1 EUROPE 292YY300E1 FRONT FORK buy original Yamaha Dt 200 Parts Diagram Dt200r motorcycle pdf manual download. view and download yamaha dt200r owner's manual online. browse oem parts diagrams and order parts for yamaha dt200r 1991. Schematic, parts fiche, parts manual and parts diagram. you can find here the yamaha dt200r (3cj7) 1995 carburetor exploded view and spare parts list. Yamaha Dt 200 Parts Diagram.
From www.cmsnl.com
Yamaha DT200R 1988 2YY1 FRANCE 282YY351F1 FRONT BRAKE buy original Yamaha Dt 200 Parts Diagram Dt200r motorcycle pdf manual download. you can find here the yamaha dt200r (3cj7) 1995 carburetor exploded view and spare parts list. browse oem parts diagrams and order parts for yamaha dt200r 1991. Schematic, parts fiche, parts manual and parts diagram. view and download yamaha dt200r owner's manual online. Yamaha Dt 200 Parts Diagram.
From www.cmsnl.com
Yamaha DT200R 1988 2YY1 FRANCE 282YY351F1 FRONT WHEEL buy original Yamaha Dt 200 Parts Diagram you can find here the yamaha dt200r (3cj7) 1995 carburetor exploded view and spare parts list. Dt200r motorcycle pdf manual download. view and download yamaha dt200r owner's manual online. browse oem parts diagrams and order parts for yamaha dt200r 1991. Schematic, parts fiche, parts manual and parts diagram. Yamaha Dt 200 Parts Diagram.
From www.cmsnl.com
Yamaha DT200R 1988 2YY1 FRANCE 282YY351F1 HANDLE SWITCH. LEVER buy Yamaha Dt 200 Parts Diagram you can find here the yamaha dt200r (3cj7) 1995 carburetor exploded view and spare parts list. view and download yamaha dt200r owner's manual online. Schematic, parts fiche, parts manual and parts diagram. browse oem parts diagrams and order parts for yamaha dt200r 1991. Dt200r motorcycle pdf manual download. Yamaha Dt 200 Parts Diagram.
From reviewmotors.co
Yamaha 200 Outboard Motor Parts Diagram Reviewmotors.co Yamaha Dt 200 Parts Diagram view and download yamaha dt200r owner's manual online. Dt200r motorcycle pdf manual download. you can find here the yamaha dt200r (3cj7) 1995 carburetor exploded view and spare parts list. browse oem parts diagrams and order parts for yamaha dt200r 1991. Schematic, parts fiche, parts manual and parts diagram. Yamaha Dt 200 Parts Diagram.
From www.cmsnl.com
Yamaha DT200R 1988 2YY1 FRANCE 282YY351F1 REAR BRAKE buy original Yamaha Dt 200 Parts Diagram Schematic, parts fiche, parts manual and parts diagram. Dt200r motorcycle pdf manual download. browse oem parts diagrams and order parts for yamaha dt200r 1991. you can find here the yamaha dt200r (3cj7) 1995 carburetor exploded view and spare parts list. view and download yamaha dt200r owner's manual online. Yamaha Dt 200 Parts Diagram.
From www.cmsnl.com
Yamaha DT200R 1988 2YY1 FRANCE 282YY351F1 FRAME buy original FRAME Yamaha Dt 200 Parts Diagram you can find here the yamaha dt200r (3cj7) 1995 carburetor exploded view and spare parts list. browse oem parts diagrams and order parts for yamaha dt200r 1991. view and download yamaha dt200r owner's manual online. Schematic, parts fiche, parts manual and parts diagram. Dt200r motorcycle pdf manual download. Yamaha Dt 200 Parts Diagram.